Project from 3D constructor -Β https://dubina.biz


The split system is designed to regulate air exchange and air temperature in the car. It provides air conditioning, ventilation and heating of the car. It also protects the windshield and side windows from fogging and freezing. The split system maintains a set temperature, humidity level and chemical composition of the air. The split system is located in the front part of the car monocoque under the dashboard.

1 - air intake grille; 2 - air duct; 3 - air distributor
Split system design
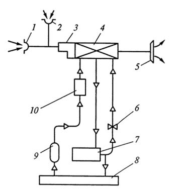
The car has natural, supply and exhaust ventilation of the passenger compartment. Natural ventilation of the passenger compartment is performed by lowering the door windows. Supply and exhaust ventilation is performed through air intake hatches. Air enters through a plastic air intake box, which gets in from the outside through the longitudinal openings of the air intake grille, located in the rear part of the engine hood. The box has a rainwater deflector, which directs water that has entered with the air along the bottom of the box to a rubber valve. Through the valve, the water drains into the environment. The air intake cover allows you to regulate the amount of air entering the passenger compartment through the heater. At low vehicle speeds and when parked, when the air pressure is insufficient or absent, fresh air is forced in by an electric fan, which has two rotation speeds: low and high. The temperature of the air entering the passenger compartment of the body is regulated by the amount of heat exchanger supplied to the heater radiator. The air entering the passenger compartment through the heater is directed through the air duct to the deflectors. The direction of air flow in the passenger compartment is regulated by the deflectors. The air distribution cover allows you to regulate the amount of air directed to the deflectors and the air duct. When the cover is closed, all the air enters the passenger compartment through the deflectors, and when the cover is open, most of it is directed through the air duct to the front of the passenger compartment to the feet of the driver and passenger. The deflectors have rotating covers with guide grilles, which allows you to adjust the direction of the outgoing air flow. When the cover is closed, intensive blowing of the inner surface of the windshield of the body is achieved, protecting the glass from fogging and freezing. With forced ventilation, with closed windows, outside air is forced into the passenger compartment by the fan without heating up. Passing through the radiator housing, the air enters the passenger compartment. Forced ventilation is used when parked and at low speeds. At speeds above 50 km/h, the passenger compartment is ventilated even with the electric fan switched off only by the air velocity pressure. Air recirculation in the system is used at low ambient temperatures. The air conditioning system serves to cool and regulate the air humidity in the vehicle's passenger compartment. In the air conditioning system, fan 3 forces outside air and air from the passenger compartment into cooler 4 through intakes 1 and 2, from where the air enters the passenger compartment through hatch 5. In cooler 4, heat from the air is absorbed by the cooling liquid (freon) when it passes into a vaporous state. Cooling liquid vapors from the cooler enter compressor 7, where they are compressed. From the compressor, compressed and heated vapors are fed to the radiator 8. In the radiator, the vapors are cooled by the oncoming air flow and turn into liquid, which flows into the cylinder 9. From the cylinder, the liquid returns through the filter 10 to the cooler 4. The bypass valve 6 automatically regulates the air conditioning system, bypassing part of the coolant vapors into the cooler, bypassing the radiator. There are two thermostatic switches in the air conditioning system. One switch controls the bypass valve 6 depending on the air temperature in the cooler, and the other switches off the compressor drive when the air in the cooler is overcooled.

1, 2 - intakes; 3 - fan; 4 - cooler; 5 - hatch; 6 - valve; 7 - compressor; 8 - radiator; 9 - cylinder; 10 - filter
Air conditioning system diagram
The split system is capable of not only cooling, but also heating the interior. When the system is switched to heating, the evaporation of the refrigerant occurs in the outdoor unit, and condensation in the indoor unit. To do this, using a four-way electromagnetic valve, the direction of pumping the refrigerant by the compressor is changed. The interior is heated with hot air. Passing through the heated radiator of the heater, the air is heated and supplied to the interior. When taking in outside air, it passes through the grille located between the windshield and the hood, abruptly changes direction and is separated from the rainwater, which drains onto the road through a plastic groove located in the underhood space. Then the air passes through the air intake box and goes to blow the windshield, door windows, as well as the foot area of ββthe driver and passengers. The heater consists of a plastic casing in which the radiator, two fans mounted on the shaft of the electric motor, the upper, central and lower flaps are installed. When the car is moving, air will enter the cabin with the fan off. To increase the efficiency of heating and, especially, to speed up the cabin heating in the cold season, cabin air recirculation through the heater radiator is used. The upper flap closes the flow of outside air into the heater and opens the window for air intake from the cabin. Constant circulation of "cabin" air through the heater radiator promotes its intensive heating. Only ventilation of the cabin occurs, air is supplied to heat the windshield and door windows, air is supplied to heat the windshield and door windows, plus additionally it is supplied to the driver's and passenger's foot area.
Please do not open any links and do not make calls (including WhatsApp) to any numbers from messages sent by accounts such as Grabcad Verification, etc. - these are phishing ones. Please do not make any payments. Our security team is currently working on a solution.